找回密码
注册会员
发新帖
59_avatar_middle

259

积分

0

好友

16

主题
online_member 发表于 2018-6-13 20:51:44 | 查看: 1548| 回复: 15
在之前的什么是黑洞天体物理?一文中,我介绍了黑洞广义相对论中的定义,黑洞作为宇宙中广泛存在的一个天体,活跃于各种影视作品以及科学研究中,无论是大众比较了解的《星际穿越》中的“卡冈图雅”和史蒂芬霍金大爷的“史蒂芬霍金辐射”,还是存在于科研人员口中的“超大质量黑洞”和“火墙理论”,黑洞可谓是宇宙第一网红。但实际上,我刚才提到的那些黑洞可能不是一家人。
根据《现代天体物理》一书中张双南老师的定义,从概念上,黑洞可以分为三种:数学黑洞物理黑洞天文黑洞
数学黑洞
从概念上,我们可以把数学黑洞看做爱因斯坦场方程的点质量的真空解,这是一个全部质量集中在该物体中心的质点,也就是所谓的奇点。我们相信,这个奇点只能拥有质量电荷量以及角动量自旋),这就是黑洞的无毛定理
根据史瓦西度规 Note:数学黑洞、物理黑洞与天文黑洞629 / 作者:坏人/fw / 帖子ID:31318 ,我们可以得到两个奇点,即 Note:数学黑洞、物理黑洞与天文黑洞408 / 作者:坏人/fw / 帖子ID:31318Note:数学黑洞、物理黑洞与天文黑洞418 / 作者:坏人/fw / 帖子ID:31318 ,但后者在物理意义上代表的是黑洞的视界半径。而在数学上,两者都可以看做是奇点(当然在史瓦西解中,只要做一个坐标变换就可以只剩下一个奇点了)。
但是,在数学上,还存在着不可以通过坐标变换消除的在视界外的时空奇点。这就引发了一个问题:是否存在不被视界面所包围的裸奇点
从史瓦西度规中我们可以很明显的看出,裸奇点在数学上必然是成立的,但现实中我们并没有验证。于是罗杰·彭罗斯便提出了著名的宇宙监察猜想,他认为宇宙中有一个潜在的法则,使得一个物体在引力完全坍缩时不会变成一个裸奇点(感觉就是废话,但是没法反驳)。当然这一猜想还没有证实。
Note:数学黑洞、物理黑洞与天文黑洞484 / 作者:坏人/fw / 帖子ID:31318
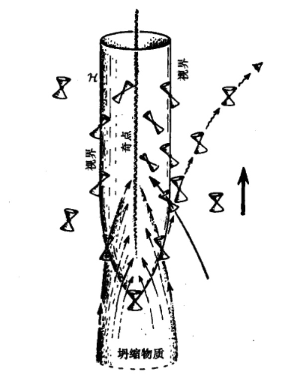
数学黑洞(取自《现代天体物理》):所有的质量集中在奇点上,黑洞的转动导致参考系拖曳现象产生事件视界外面的能层,在能层到视界半径的这些区域中,粒子和能量无法保持静止,必须随着黑洞而转动。
物理黑洞
宇宙学(在本文中宇宙学指代物理中的宇宙学)中,黑洞被物理学家看作是一个物质引力坍缩时形成的时空区域,这片区域的引力强大到光也无法逃脱。
物理学家所研究的是时空区域的性质和演化,而对于物理学家来说,某种特殊的时空区域叫做黑洞。物理学中的黑洞与广义相对论和大量数学(例如微分几何)密不可分,因为时空的特性并不是一间显而易见的事,而是一种需要借助数学和及其抽象的思维来描绘的图像。
最初爱因斯坦场方程的史瓦西解描述的便是一个电中性无转动球对称天体引力场,即球对称天体周边的静态引力场,而不是那个天体本身。
之前我们说到,在数学中,黑洞的质量、电荷量以及角动量均被认为集中在了奇点上,而在物理中,这些量都是整个时空的性质,存在于这片时空区域中,单独针对时空内某一点来说这些量的分布都是0,但对于整个时空来说,它们是实实在在存在的。
对于物理学家来说,黑洞是当代物理学最热门前沿领域之一,弦论(火墙理论)、黑洞热力学(史蒂芬霍金辐射)等等诸多与广义相对论密不可分的领域都与黑洞有着密切联系,同时还有许多物理学家试图通过黑洞特殊的时空特性把量子力学与广义相对论、统计力学等等紧密结合在一起(黑洞熵)。
Note:数学黑洞、物理黑洞与天文黑洞772 / 作者:坏人/fw / 帖子ID:31318
物理黑洞(取自《通向实在之路》):这是一个坍缩到黑洞的时空图(压缩了一个时间维)。物质穿过事件视的三维表面向内坍缩。光锥与视界相切。这是一个时空里的三维曲面。
天文黑洞
依稀记得第一次给老师打电话时我告诉老师“老师我学过一点微分几何和广义相对论”,老师和蔼可亲的对我讲“不错,但这些你以后基本用不上了”。当时我就懵逼了,这尼玛研究黑洞竟然不用广义相对论,逗我玩呢?
后来我才知道,老师说的是真的。
在天体物理中,用到广义相对论的情况只有不到百分之十,而这百分之十中只有百分之五可能会用到微分几何。
对于天文学家来说,当大质量天体内部压强不足以维持星体抵御自身引力引起的内向坍缩时,黑洞便出现了。也就说,在天文学家眼中,黑洞是满足了一定条件的恒星演化到后期形成的一种星体(当然这些指的都是恒星级黑洞,质量只是太阳质量的数倍,而宇宙中还存在着一种超大质量黑洞,例如银河系中心黑洞Sgr A*,其具体的成因目前还是天文学界的一大难题),而不是时空区域。
目前的理论相信黑洞周围是由气体尘埃组成的吸积盘,吸积盘以巨大的旋转速度盘旋着逐步趋向黑洞视界内部,而物质在进入黑洞视界面之前将辐射出强烈的X射线,甚至会伴随着喷流(详见Note:黑洞吸积中喷流的形成)的产生。
在天文学中,对于黑洞的研究工作一般是通过数值模拟的方法来实现的,例如我之前所写的Note:数值模拟在黑洞吸积中的应用,在数值模拟中我们一般不会去考虑广义相对论效应,而直接用牛顿引力近似掉了。同时由于黑洞周围吸积盘中的气体和尘埃可以看做流体(如果加入磁场则看做磁流体),以及由于吸积和喷流所产生的强烈的辐射,所以对于研究黑洞的天文学家来说,流体力学磁流体力学天体物理中的辐射机制是研究者需要掌握的比较重要的理论知识,而不是大家一般认为和黑洞密不可分的广义相对论和微分几何。
Note:数学黑洞、物理黑洞与天文黑洞653 / 作者:坏人/fw / 帖子ID:31318
天文黑洞:这是一个活动星系核的模型,中间黑色区域就是黑洞,黑洞外部红色区域就是吸积盘,与吸积盘垂直的便是喷流。
总结
严格意义上来说,数学和物理的黑洞划分并没有什么太大的区别,只是在对于一些数学结果得物理意义的讨论中存在分歧,而二者与天文黑洞虽说同源,但在发展的过程侧重点上却大相径庭,这在所涉及的课程中就可以看出来,比如物理中研究黑洞需要掌握广义相对论、微分几何、量子力学和统计力学,而天文中研究黑洞则需要流体力学、磁流体力学、天体物理中的辐射机制并且会敲代码
同时,物理学家所认为的黑洞是一种时空,而天文学家则认为黑洞是一种星体
物理学家研究黑洞是为了探寻时空的奥秘,天文学家则是研究天体演化的过程
物理学家眼里的黑洞是一种美丽的几何,在天文学家眼里黑洞只不过是一个辐射比较强的点源
物理学家的黑洞活在草稿纸和公式中,在天文学家手里黑洞变成了一串代码
夜幕是无尽暗中多少个黑洞看着似是爱星空飘送。”
参考文献
[1]. 彭罗斯. 通向实在之路[M]. 湖南科学技术出版社, 2013.
[2]. 陆埮. 现代天体物理[M]. 北京大学出版社, 2014.
P.S.快期末考试了。
P.P.S.感谢 @白书旭 @厉岳洲 二位大佬对本文的指正。
online_member 发表于 2018-6-13 20:51:44
道理我都懂,但是为什么要贴我和老婆的结婚照

回复 显示全部楼层 道具 举报

online_member 发表于 2018-6-13 20:51:44
明明是我(っ╭╮)っ

回复 显示全部楼层 道具 举报

online_member 发表于 2018-6-13 20:51:44
题图引起强烈不适,抱走了

回复 显示全部楼层 道具 举报

online_member 发表于 2018-6-13 20:51:44
放下我老婆

回复 显示全部楼层 道具 举报

00_avatar_middle
您需要登录后才可以回帖 登录 | 注册会员

手机版|UFO中文网

GMT+8, 2026-5-11 07:09

Powered by Discuz! X3.5

© 2001-2026 Discuz! Team.

快速回复 返回顶部 返回列表